
Microsoft recently filed for a patent for a sensor that tracks health information (via WindowsUnited). The patent describes a device with a light source that emits light against skin.
Microsoft recently filed for a patent for a sensor that tracks health information (via WindowsUnited). The patent describes a device with a light source that emits light against skin. A sensor within the device then receives the light from the skin and uses the data to track various pieces of health information. The patent specifically mentions blood pressure, heart rate, stroke volume, cardiac output, total peripheral resistance, blood vessel elasticity, and arterial oxygen saturation.
Here is the abstract from the patent that summarizes the device:
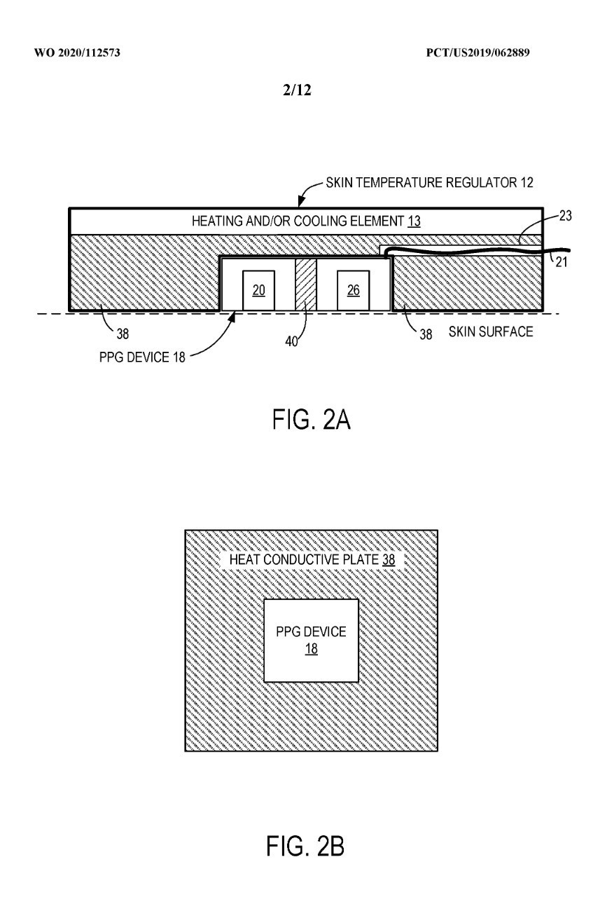
A photoplethysmogram device is provided comprising a light source configured to emit light to illuminate skin, a photo-detector configured to receive the light illuminating the skin and generate an electrical output as a function of an intensity of the received light, a skin temperature regulator configured to heat and/or cool a temperature of the skin adjacent to the photo-detector and light source to increase the signal-to-noise ratio (SNR) of the electrical output from the photo-detector, and a processor configured to generate, based on the electrical output, an output signal indicative of blood properties, including physiological parameters such as blood pressure, heart rate, stroke volume, cardiac output, total peripheral resistance, blood vessel elasticity, and arterial oxygen saturation.


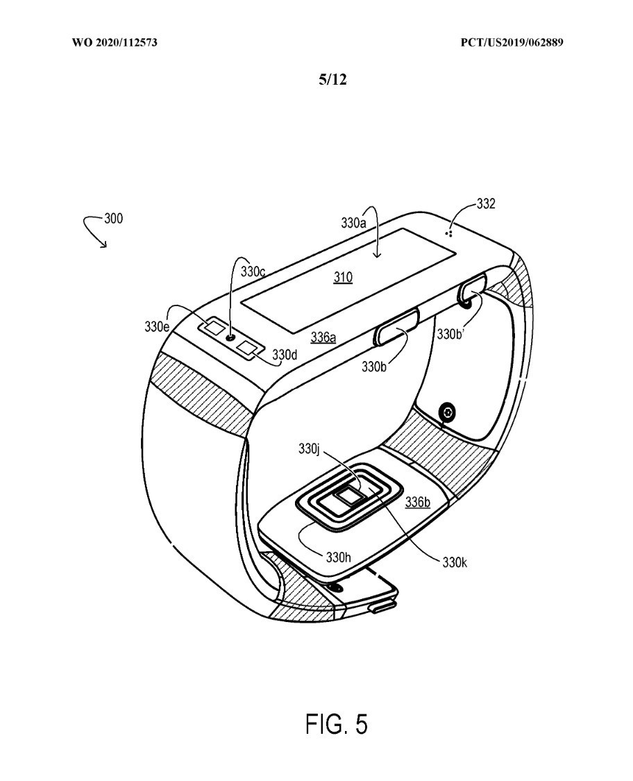
The images from the patent appear similar to the Microsoft Band, which is no longer made. Microsoft never released the Microsoft Band 3, but we got our hands on one and reviewed it back in 2018.
It’s unclear if Microsoft has any plans to use the technology shown off in this patent. Many patents never turn into concrete devices. Additionally, Microsoft left the wearables space years ago. There’s a chance that Microsoft could license the technology to other companies. It’s also worth noting that the “Priority Data” section of the patent lists “30.11.2018” as a date. This indicates when a company initially applies for a patent for an invention.



Comments